冬天打雷為什麼是不祥之兆?氣象學家有解釋

泥仔
支持
本文經授權轉載自友站中研院 研之有物文/ 採訪編輯|歐柏昇 美術編輯|張語辰 

中研院環境變遷研究中心的王寳貫主任,除了以雲物理的研究聞名,也致力於歷史氣候的研究。他從古代文獻中尋找線索,了解過去的氣候變遷,也發現氣候經常影響著人類歷史。

文章插圖

冬天打雷,代表什麼徵兆呢?

網友Leon Contreras

小時候讀古文的疑惑

氣象學家王寳貫,從小有個特別的興趣,就是閱讀古文。他說,小時候父親買了很多古書,「他其實自己沒有時間看,都是我在幫他看!」於是,《史記》這些書,他在小學就已經讀過了。

小時候讀古文,王寳貫一直有個疑問:為什麼冬天打雷不祥?他始終無法得到解答。進入台大地理系氣象組(大氣科學系的前身),問老師這個問題,老師也不曉得。

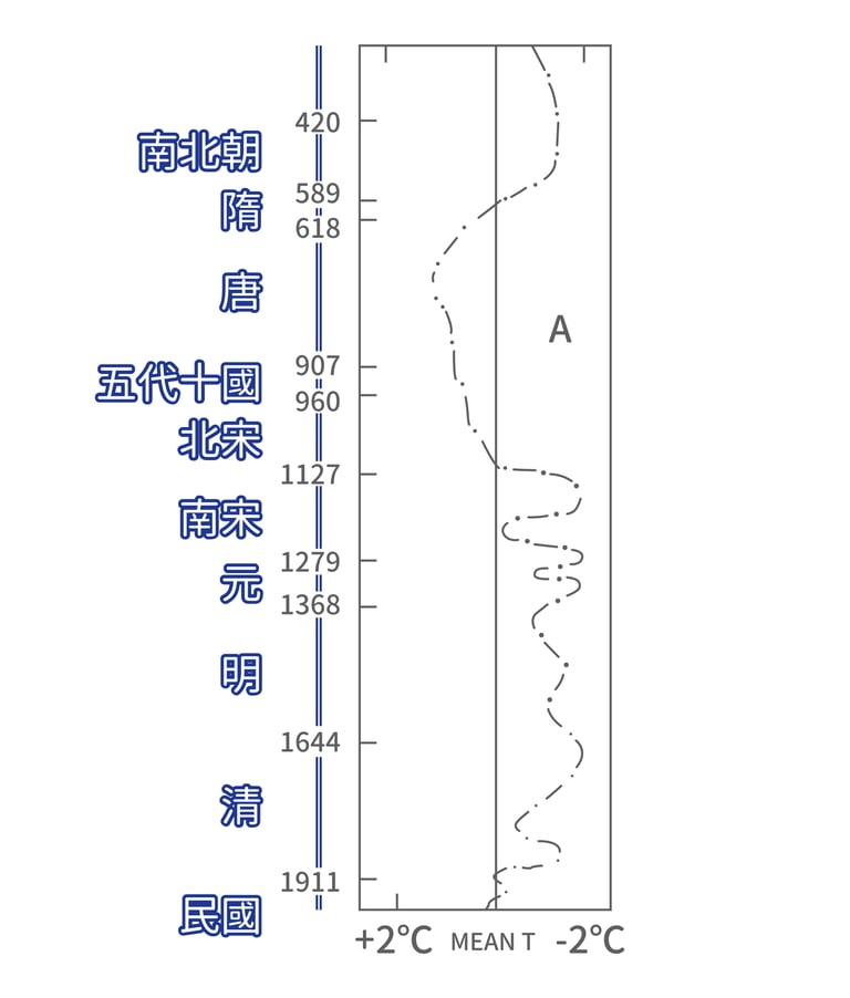
直到他前往美國加州大學洛杉磯分校 (UCLA) 留學,終於有了解惑的契機。那時,他看到中國大陸氣象學者竺可楨寫的一篇文章,談中國五千年氣候變遷。其中有條曲線,是利用古代文獻中「物候」現象的資料,拼湊出的中國歷史上氣溫演變曲線。

物候現象,例如燕子的來去、河水是否結冰。通常燕子應該某一天到,但今年燕子比較晚到,可能就代表今年氣候比較冷。若今年河水異常結冰,也表示氣候較冷。

文章插圖

中國歷史氣溫變化曲線 (竺可楨,1973)。(此圖資料以年份為準,左側朝代為輔助說明之標示,故部分年份與朝代年代會有些許差異) 資料來源│王寳貫提供  圖說重製│歐柏昇、張語辰

合作夥伴

為何冬天打雷代表不祥?

王寳貫看到竺可楨的做法,覺得非常有意思,真的可以從古代文獻來研究氣候。於是,他動身翻找二十四史,花了很多功夫,把氣象相關的資料找出來。目的就是解答多年的疑惑──為什麼冬天打雷是不祥的徵兆?

整理了史書中關於冬雷的紀錄之後,王寳貫把過去 2000 年中每 30 年的冬雷次數統計出來。最初猜想,冬天打雷應該是在比較溫暖的年份,因為溫暖的時候對流比較旺盛,產生雷雨,就會打雷。

文章插圖

王寳貫統計過去兩千年的冬雷次數,與溫度、降塵的關係。 資料來源│王寳貫提供  圖說重製│歐柏昇、張語辰

合作夥伴

沒想到,跟竺可楨的曲線一比之下,結果跟王寳貫預期的剛好相反,而且那個關係還好得很!也就是說,冬雷多的時候,都是冷的年份。

做研究好玩的就是,你以為是那樣,做出來的結果卻跟你想的是相反的。

那為什麼冷的年份容易出現冬雷?目前還沒有定論,但王寳貫有個暫時的解釋:冬天產生雷雨,表示對流旺盛,但這個對流不一定是「熱對流」,而可能是冷鋒的對流。冷鋒附近,對流本來就比較強,而如果冷鋒後面的冷氣團特別冷,冷暖的對比特別強,在氣象上「斜壓性」強,容易造成「斜壓不穩定」。斜壓不穩定,容易造成強的對流,比較有可能造成雷雨。

回到「冬天打雷不祥」的說法,古人說「不祥」應是有反常現象,而冬雷伴隨的反常,就在於該年天氣寒冷。

天氣寒冷,又對社會與政治有何不利呢?

文章插圖

王寳貫期待歷史氣候與地理資料庫完成後,可以更容易做統計研究,鑑古推今,探究氣候與環境的變遷。 攝影│張語辰

合作夥伴

氣候改變歷史!

天氣乾冷的時候,農作物收成相對也較差,老百姓沒東西吃,只好搶糧倉,發生社會動亂。王寳貫舉例,明代末年進入「小冰期」,氣候變得乾冷,發生大規模的旱災,民不聊生。因此,李自成、張獻忠成為「流寇」的背景,應與小冰期的氣候背景有關。

王寳貫說,也許明末的皇帝不是真的比較糟,而是運氣不好。相反地,大家會說唐太宗很英明,但現在知道唐代氣候溫暖,因此唐代的盛世可能也與此氣候條件有關。

我現在從整個歷史氣候來看,既有的政治體系比較糟糕的時候,往往是發生在氣候比較不好的時候,容易產生動亂。

天氣乾冷,也與戰爭的頻繁有關。王寳貫曾與一位中國大陸學者合作,當時那位學者在加拿大工作,統計了歷代戰爭的次數。他們發現,戰爭的次數,與冬天打雷的次數,呈現統計上很高度的相關。冬雷多的時候,戰爭就比較多;而且冬雷多的時候,中國歷史上的邊界就相對南遷。這顯示天氣乾冷的時候,漢人與北方民族可能產生較多摩擦。

文章插圖

王寳貫也發現可以從古代詩文裡,找到一些關於東亞氣候的描述。

網友NASA

明清颱風路徑與今日大不同

王寳貫還曾經依颱風登陸站點,統計過明末清初的颱風路徑。他發現,當時的颱風幾乎都停留在廣東沿海一帶,不會北上到福建、浙江。

這個結果和現在的氣象理論吻合:颱風需要溫暖的海面才能維持,但是明末的小冰期氣候較冷,海面也就比較冷。於是,颱風只要往北一點,就沒有足夠的溫暖海面供應水氣、能量,很容易消散掉。

此外,王寳貫分享了一個有趣的例子,說明從古代詩文裡,也可看出東亞季風區的特性。

南宋詩人趙師秀,在 《約客》這首詩這樣寫:「黃梅時節家家雨,青草池塘處處蛙」。如果只看了那首,會以為黃梅時節每一家都下雨。可是,南宋時期另一位詩人曾幾的《三衢道中》,又寫道「梅子黃時日日晴,小溪泛盡卻山行。」看了這首,卻會以為黃梅天氣應該都很好。但是,南宋時期又有一首詩寫說「熟梅天氣半晴陰」,梅子熟的時後,天氣半晴半陰,出自戴復古的《初夏遊張園》。

你說,是家家雨、日日晴還是半晴陰?都有可能。東亞季風區的特點,就是它的天氣變率特別大。

文章插圖
網友Rudolph.A.furtado

甲骨文暗藏商代氣候的密碼

不僅是歷史文獻的紀錄,中研院引以為傲的甲骨文藏品,也有人拿來做氣候方面的研究。當中國學者關注古文字的意思時,德裔美籍學者魏復古 (Karl August Wittfogel) 從一個很有趣的思路來研究甲骨文,即是試圖從 317 片有時間記載的甲骨片推斷古代氣候的資訊。

魏復古看了上萬片甲骨,蒐集具有天氣紀錄的卜辭。其中一項有趣的推論是這樣的──現在中國北方冬天不太會下雨,然而商代的卜辭中,冬天仍然常問未來幾天會不會下雨,這表示商代的氣候應比現在暖濕。

除此之外,魏復古還從打仗的季節,推出乾季、雨季的時間,因為下大雨的時候並不適合打仗。他的結論不能說完全正確,但是提供了許多有意思的思路。

大工程──歷史氣象資料庫

王寳貫幾年前回到中研院之後,展開了一個更龐大的計畫,把氣象相關的歷史記載,製作成資料庫。

我們現在把文字記載完全變成電腦編碼,降雨、下大雨、大雪都編一套碼,一套歷史的編碼系統,把它數位化。

這套系統,將結合中研院歷史語言研究所范毅軍研究員製作的中國歷史 GIS 地理資訊系統,讓學者可以很容易地查詢歷史上某時、某地的氣候資訊。目的就是做一個開放的資料庫,每一個人都可以用。這個資料庫即將上線,未來將造福許多領域的學者。例如想要了解古代社會的動亂是否與氣候有關,或想了解疾病的發生與氣候、環境背景的關係,都可以利用這套系統。


延之有物延伸閱讀:
01 每天看到的雲,藏著什麼大學問?
02 王寳貫的個人網頁
03 王寳貫,〈從歷史文獻看氣候變遷〉,《科學發展》第 356 期,頁 52-59,2002 年。
04 王寳貫,〈怎樣從甲骨文導出商代氣候〉,《科學發展》第 360 期,頁 70-75,2002 年。

延伸閱讀:《為什麼天氣糟糕不應該出航? 空難事件的隱藏幫兇
千歲樹木陸續死亡 非洲猴麵包樹倒塌之謎
過去地球一天不是24小時 月球推了一把

中研院 研之有物

中研院 研之有物

研之有物,取諧音自「言之有物」,出處為《周易·家人》:「君子以言有物而行有恆」。本站盼以具體的研究案例、真實的研究員生活,帶您前往數理科學、生命科學、人文社會三大領域研究現場,揭開中央研究院神秘的面紗,看見研究員各種挫折與努力,了解研究成果如何應用生活中,繼而體會研究的價值與重要性。

延伸閱讀

收起全部