「在元宇宙也可以用腳踢球」Sony申請用腳操縱AR / VR的控制器專利
本文經授權轉載自友站Inside硬塞的網路趨勢觀察文/ Jocelyn
地球一瞬,世界各地正發生這些大小事。
註:本文為單一事件快訊報導,非深度文章
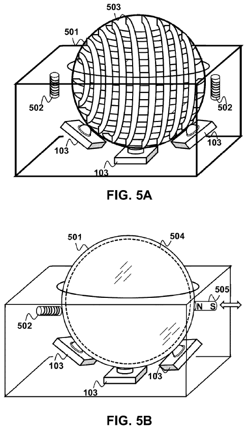
Sony 釋出了為兩款用腳操控的 AR/VR 控制器申請的專利,其中一項專利為一至兩顆控制球,是用在簡易操縱上;另一項則是有鄰近感測功能的面板,負責更複雜的控制。
Sony has patented a very strange foot controller with giant trackpads.It's meant to be used for VR & AR, specifically for people who don't have enough space.Click the picture📷 for the full story 👇https://t.co/7PGI12uJDI
球體控制器的運作原理就如同軌跡球,差異在於玩家是使用腳來控制,在球體外殼有二到三個軸承,能讓控制球滾動地更流暢,另外也裝有編碼器來計算球體的旋轉運動後再用於遊戲中。
另一項控制板則是採碗狀的造型,含平面的觸控板,以及也有可能是採有彎曲且可鄰近感測的表面,讓兩隻腳都能操控,且此裝置能偵測到接近控制器的物體,並加以調整靈敏度。
兩種控制器皆裝載 CPU、記憶體、A/D、D/A 轉換器等,可獨立計算玩家的動作、距離,系統會再將必要的數據回傳給主機,Sony 表示控制器能加以被手機、PC、平板、工作站等裝置使用。
用腳操縱的控制器之優勢在於能打破空間大小限制,在較小空間內的玩家使用這兩種控制器就可停留在原地,有機會解決玩家空間上的不便;同時相較用十字鍵或搖桿而言,用腳控制更加自然能打造較沉浸的體驗。
延伸閱讀
收起全部
參考資料
展開更多